
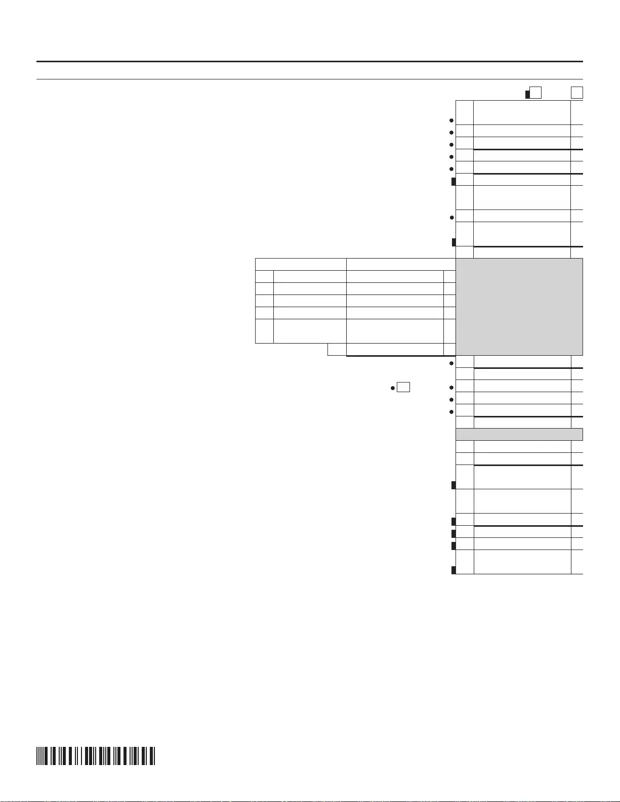
CT-3-S (2021) Page 3 of 6
Composition of prepayments (see instructions): Date paid Amount
32 Mandatory rst installment ................................ 32
33 Second installment from Form CT-400 .............. 33
34 Third installment from Form CT-400 .................. 34
35 Fourth installment from Form CT-400 ................ 35
36 Payment with extension request from
Form CT-5.4 ................................................... 36
37 Overpayment credited from prior years
(see instructions) ................. 37
38 Total prepayments
(add lines 32 through 37) ..................................................................................... 38
39 Balance
(subtract line 38 from line 31; if line 38 is larger than line 31, enter 0) .......................................... 39
40 Estimated tax penalty
(see instructions; mark an X in the box if Form CT-222 is attached) .............. 40
41 Interest on late payment
(see instructions) ....................................................................................... 41
42 Late ling and late payment penalties
(see instructions) .................................................................. 42
43 Balance
(add lines 39 through 42) ....................................................................................................... 43
Voluntary gifts/contributions
44 Total voluntary gifts/contributions (from Form CT-227, Part 2, line 1) ..................................................... 44
45 Add lines 31, 40, 41, 42, and 44 ....................................................................................................... 45
46 Balance due
(If line 38 is less than line 45, subtract line 38 from line 45 and enter here. This is the amount
due; enter your payment amount on line A on page 1.) ................................................................... 46
47 Overpayment
(If line 38 is more than line 45, subtract line 45 from line 38 and enter here. This is the
amount of your overpayment; see instructions.) .................................................................................... 47
48 Amount of overpayment to be credited to next period
(see instructions) ........................................... 48
49 Refund of overpayment
(subtract line 48 from line 47; see instructions) ............................................... 49
50 Refund of unused special additional mortgage recording tax credit
(see instructions) ..................... 50
51 Amount of special additional mortgage recording tax credit to be applied as an overpayment to
next period .................................................................................................................................. 51
You must enter an amount on line 22; if none, enter 0.
22 New York receipts
(from Part 3, line 55, column A (New York State)) ..................................................... 22
23 Fixed dollar minimum tax
(see instructions) ....................................................................................... 23
24 Recapture of tax credits
(see instructions) ......................................................................................... 24
25 Total tax after recapture of tax credits
(add lines 23 and 24) ............................................................. 25
26 Special additional mortgage recording tax credit
(current year or deferred; see instructions) .............. 26
27 Tax due after tax credits
(subtract line 26 from line 25) ...................................................................... 27
Part 2 – Computation of tax (see instructions)
28 Enter amount from line 27................................................................................................................. 28
29 If you led a request for extension, enter amount from Form CT-5.4, line 2 ................................... 29
30 If you did not le Form CT-5.4 and line 28 is over $1,000, enter 25% (.25) of line 28.
Otherwise enter 0 ....................................................................................................................... 30
31 Add line 28 and line 29 or 30 ............................................................................................................ 31
First installment of estimated tax for the next tax period:
Have you been convicted of an oense, or are you an owner of an entity convicted of an oense, dened in
New York State Penal Law Article 200 or 496, or section 195.20?
(see Form CT-1, mark an X in one box).................... Yes No